Mercedes maakt zelfs spatlappen ingewikkeld

Auto’s worden steeds slimmer, zwaarder en, laten we eerlijk zijn, soms ook een tikje overdreven. Gelukkig doet Mercedes-Benz daar vrolijk aan mee met een nieuw patent dat zelfs de meest simpele onderdelen high-tech maakt. Want waarom zou je genoegen nemen met een gewone spatlap, als je het ook gewoon veel moeilijker kan maken?
Schoon rijden zonder wasstraat
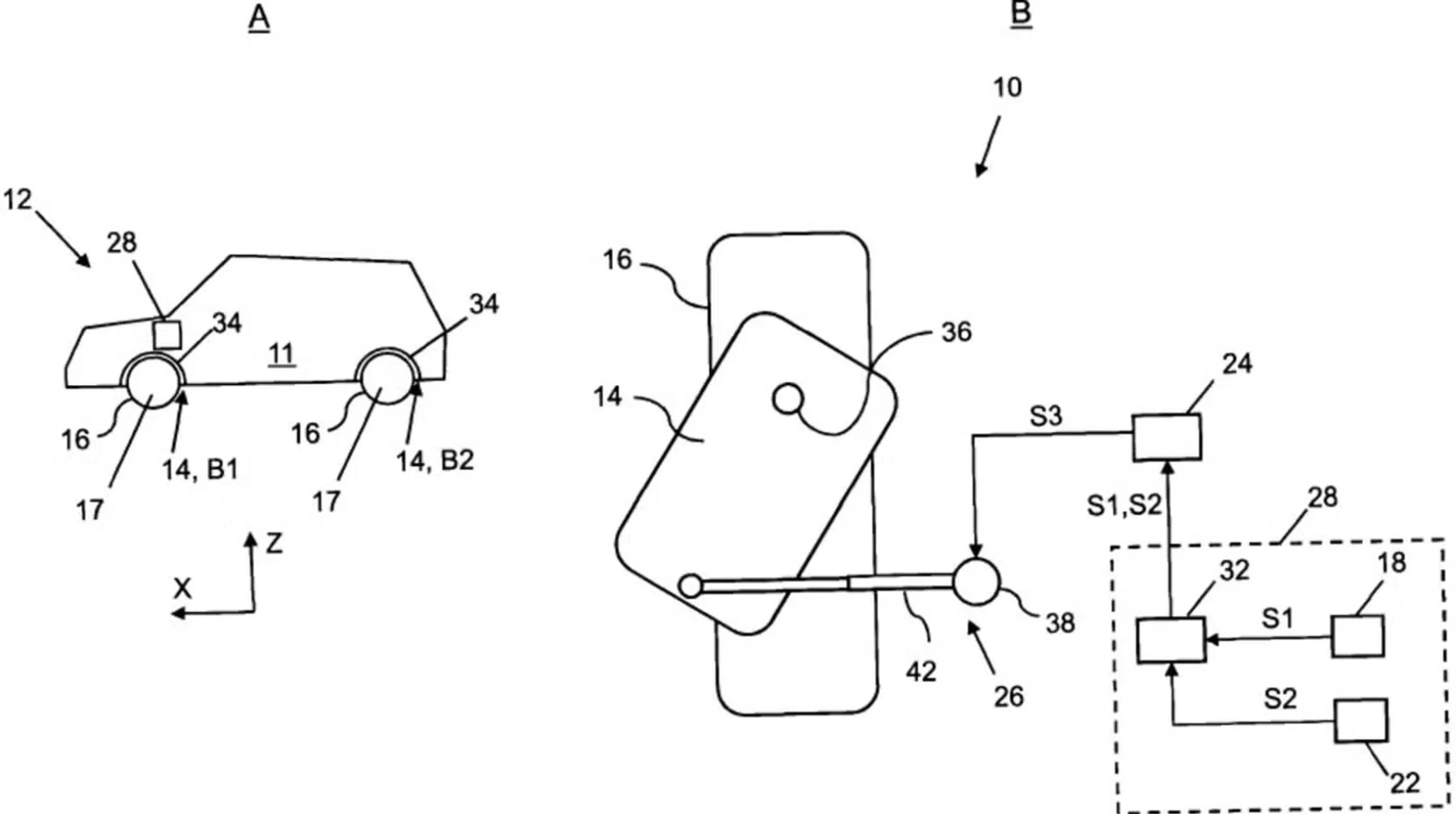
Het idee is eigenlijk verrassend simpel: zorg gewoon dat er minder vuil op de auto komt. Volgens een recent opgedoken patent van Mercedes moeten actieve modderflappen voorkomen dat opspattend water, steentjes en andere troep tegen de carrosserie aankomen.
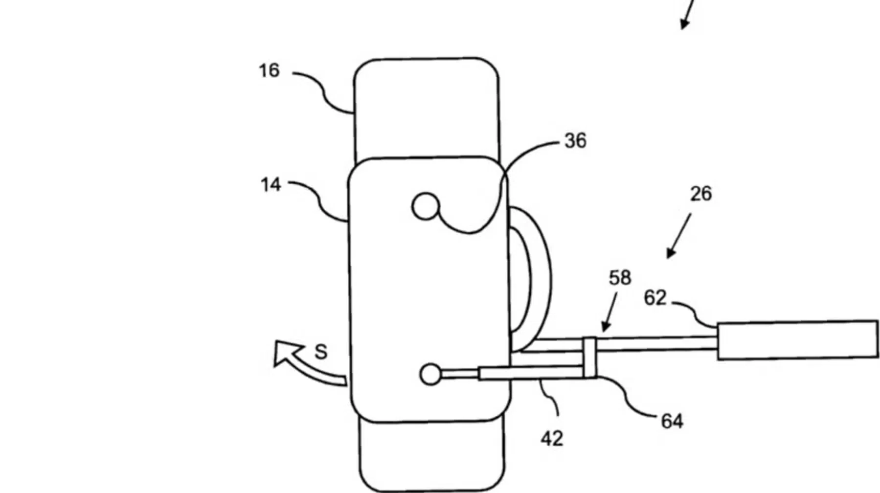
Normaal gesproken doen spatlappen dat natuurlijk al een beetje, maar ze zitten vast. En laat dat nu precies zijn wat Mercedes wil verbeteren. Door ze beweegbaar te maken, kunnen ze zich aanpassen aan de situatie en zo meer opspattende zooi tegenhouden. Logisch toch?
Spatlappen met hersens
De techniek erachter is, hoe kan het ook anders, behoorlijk uitgebreid. De flappen kunnen draaien en kantelen via scharnieren en worden aangestuurd door een mix van sensoren. Denk aan stuurhoeksensoren, regensensoren, camera’s en zelfs GPS-data. Afhankelijk van hoe je rijdt, waar je rijdt en vooral onder welke omstandigheden, positioneren de flappen zich optimaal om al dat vuil buiten de deur te houden.

Meer techniek, meer gewicht
En daar gaan we weer. Want om je auto een beetje schoner te houden, krijg je er wel een flinke dosis extra techniek bij. Elektromotoren, hydrauliek, sensoren… ga zo maar door. Mag ook vast wat kosten als het stuk gaat.
Goed, het is weer zo'n typisch voorbeeld van moderne auto-ontwikkeling: elk klein probleem krijgt een over de top high-tech oplossing. Resultaat? Auto’s die steeds complexer, duurder en zwaarder worden. Alsof een SUV van tweeënhalve ton nog niet zwaar genoeg was.
Wil je dit wel?
Mercedes claimt dat het systeem zorgt voor minder lakschade, lagere reparatiekosten en een schonere auto. Klinkt logisch, zeker voor kopers die hun glimmende bolide graag showroomwaardig houden. Maar de vraag blijft: heb je hier echt zo'n systeem voor nodig? Of is dit gewoon een gevalletje Duitse over-engineering van de bovenste plank? Gelukkig weten we allemaal dat veel patenten gewoon een leuke tekening blijven.
Dus ja, wederom een over gecompliceerde oplossing voor een probleem dat ook gewoon op te lossen is door je auto wat vaker te wassen.





